Каталог товаров

Электропривод RLE10-24S(H)

Код: РВР00275786
Нет в наличии
Страна происхождения
КИТАЙ
Единица измерения
шт
Вес (кг)
1.69
14 601,09 ₽
Товар не доступен в вашем городе
Описание товара
Характеристики
Описание товара
Электроприводы без возвратной пружины предназначены для управления противопожарными клапанами и клапанами дымоудаления.
Характеристики товара
Файлы
Электроприводы РОВЕН.pdf

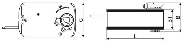
Габаритные размеры

RWF привод чертеж.jpg

Модель

B

C

L

Размер вала, мм

Масса, кг

RLE10-24S(H)

59

98

156

□ 12х12

<1,8

Технические характеристики

Модель

Номинальное напряжение, В

Крутящий

момент, Н·м**

Площадь

заслонки, м²**

Потребляемая мощность,

при вращении/

в состоянии покоя, Вт

Рабочая

температура, °С

Время

срабатывания, с

Управление

RLE10-24S(H)*

24

10

<1,5

5,0/0,5

-30...+50

<45

2-х/3-х позиционное

* S - 2 вспомогательных SPDT переключателя.
** Площадь заслонки указана справочно. При выборе электропривода необходимо учитывать также величину необходимого крутящего момента.

Электрические схемы подключения

RLE10-24S(H)_элсхема.jpg